多出料卸料口刮板輸送機技術特征及要點
本技術涉及一種多出料卸料口刮板輸送機。刮板輸送機是用刮板鏈牽引,在輸送料槽內運送散狀物料的連續輸送設備,散狀物料在刮板的推動下克服物料與輸送料槽壁間的摩擦力向前運動而形成穩定的物流,拖動刮板移動的元件則是鏈條。刮板輸送機主要包括有機頭、中間輸送部和機尾部等三個部分組成,中間輸送部主要包括有送料槽、鏈條和刮板以及設置于送料槽上的進料口和出料口。
本技術涉及一種多點卸料口出料的刮板輸送機,該刮板輸送機的翻板閘門通過驅動機構驅動拐臂運動,拐臂帶動拔動桿擺動,拔動桿推動折彎曲板向下或向上運動,出料門隨之轉動,實現開關出料門的動作。其不足之處在于:一是其出料門是通過向上或向下翻轉而實現出料口的打開或關閉的,往往由于物料的阻滯作用出料口并不能完全關閉;二是其出料門的控制機構復雜,故障率高,不便于維修,三是當輸送的物料帶有粘性時,卸料不徹底,在出料口有物料附著,形成物料殘留。
技術實現要素:
針對現有技術所存在的上述不足,本技術所要解決的技術問題是提供一種無殘留多點出料刮板輸送機,它不僅結構簡單,便于對物料落點進行控制,而且開關動作準確可靠,無物料殘留。為了解決上述技術問題,本技術的無殘留多點出料刮板輸送機,包括料槽,以及設置于料槽內的鏈條和刮板,該刮板固定安裝于鏈條上,在所述料槽內可擺動地支承有擺動擋料板,該擺動擋料板由擋料板擺動裝置驅動,擺動擋料板位于刮板的上方,在料槽的下方至少設置有一出料斗,擺動擋料板也位于出料斗的上方,在出料斗的出料口位置設置有出料閘門。
采用上述結構后,由于在料槽內可擺動地支承有擺動擋料板,且擺動擋料板位于刮板的上方,在輸送機輸送粉狀或小顆粒狀等帶有粘性的物料時,當物料粘附甚至堆積于鏈條刮板上而影響輸送效率時,擺動擋料板下垂至與鏈條的垂直位置,從而對形成對粘附或積淀于鏈條刮板上的物料進行刮除,既清潔了鏈條刮板,提高了輸送機的輸送效率,又將輸送物料刮至出料口,使得物料在鏈條刮板和料槽內無殘留。又由于在出料斗的上方設置有有擺動擋料板,而在出料斗的出料口位置設置有出料閘門,當輸送機選擇確定了落料位置后,就可以將對應位置的出料斗上方的擺動擋料板下垂而擋住鏈條刮板上的物料并打開該出料口的出料閘門,從而引導物料落至相應的物料落料點,很方便地控制了物流落點。本技術還具有結構簡單合理,便于實現自動控制,保證了輸送機的輸送方便,且無殘留。
本技術的優選實施方式,所述擺動擋料板通過擋料板擺動軸可擺動地支承于料槽的槽壁上。所述擋料板擺動軸的外伸端固定安裝有擋料擺臂,該擋料擺臂的一端連接有擋料板擺動裝置。所述擋料板擺動裝置為氣缸或液壓缸。結構合理,動作可靠,便于安裝維護。
本技術的優選實施方式,所述出料閘門為氣動閘門或電液動平板閘門。該結構便于控制,開關動作準確可靠。
本技術的進一步實施方式,所述料槽是截面為矩形的箱式料槽。所述鏈條為板式鏈條,刮板安裝于鏈條的兩側。輸送物料順暢,輸送效率高。
附圖說明

技術特征:
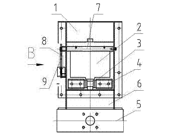
1.一種無殘留多點出料刮板輸送機,包括料槽(1),以及設置于料槽(1)內的鏈條(3)和刮板(4),該刮板(4)固定安裝于鏈條(3)上,其特征在于:在所述料槽(1)內可擺動地支承有擺動擋料板(2),該擺動擋料板(2)由擋料板擺動裝置(9)驅動,擺動擋料板(2)位于刮板(4)的上方,在料槽(1)的下方至少設置有一出料斗(6),擺動擋料板(2)也位于出料斗(6)的上方,在出料斗(6)的出料口位置設置有出料閘門(5)。
2.根據實用需求1所述的無殘留多點出料刮板輸送機,其特征在于:所述擺動擋料板(2)通過擋料板擺動軸(7)可擺動地支承于料槽(1)的槽壁上。
3.根據實用需求2所述的無殘留多點出料刮板輸送機,其特征在于:所述擋料板擺動軸(7)的外伸端固定安裝有擋料擺臂(8),該擋料擺臂(8)的一端連接有擋料板擺動裝置(9)。
4.根據實用需求1、2或3所述的無殘留多點出料刮板輸送機,其特征在于:所述擋料板擺動裝置(9)為氣缸或液壓缸。
5.根據實用需求1所述的無殘留多點出料刮板輸送機,其特征在于:所述出料閘門(5)為氣動閘門或電液動平板閘門。
6.根據實用需求1所述的無殘留多點出料刮板輸送機,其特征在于:所述料槽(1)是截面為矩形的箱式料槽。
7.根據實用需求1所述的無殘留多點出料刮板輸送機,其特征在于:所述鏈條(3)為板式鏈條,刮板(4)安裝于鏈條(3)的兩側。
技術總結
本技術公開了一種無殘留多點出料刮板輸送機,包括料槽,以及設置于料槽內的鏈條和刮板,該刮板固定安裝于鏈條上,在所述料槽內可擺動地支承有擺動擋料板,該擺動擋料板由擋料板擺動裝置驅動,擺動擋料板位于刮板的上方,在料槽的下方至少設置有一出料斗,擺動擋料板也位于出料斗的上方,在出料斗的出料口位置設置有出料閘門。所述擺動擋料板通過擋料板擺動軸可擺動地支承于料槽的槽壁上。所述擋料板擺動軸的外伸端固定安裝有擋料擺臂,該擋料擺臂的一端連接有擋料板擺動裝置。所述擋料板擺動裝置為氣缸或液壓缸,該無殘留多點出料刮板輸送機,不僅結構簡單,便于對物料落點進行控制,而且開關動作準確可靠,無物料殘留。
最新產品
同類文章排行
- 怎樣調整旋振篩會使篩粉處理量增大?
- 振動篩篩網破損后怎樣更換篩網?
- 振動篩分機在膩子粉行業的應用
- 滾筒篩有效解決篩分多棱狀物料篩網堵塞問題
- 標準旋振篩改造成超聲波旋振篩需要哪些配件?
- 方形搖擺篩抽拉式篩網結構設計技術及要求
- 旋振篩透篩率該怎樣提高?受那些因素影響
- 方形搖擺篩散料器改進及設計原理
- 多出料卸料口刮板輸送機技術特征及要點





